Контакты
Новости
Каталоги
 Войти
Сортировать:
Сначала новые
Сначала старые
Цена ↑
Цена ↓
Кол-во ↑
Кол-во ↓
Имя A→Я
Имя Я→A
Серийник ↑
Серийник ↓
51672476 –Резиновое уплотнение
5 834 ₽
51672484 -
6 008 ₽
51672485 - Стекло
6 008 ₽
5167251 - Шланг гидравлический
5 461 ₽
5167276 - набалдашник
42 ₽
9500475 - Втулка
867 ₽
47438213 - Заглушка
856 ₽
51672818 -
32 306 ₽
5167313 - заглушка
1 051 ₽
5167317 - кабель
1 399 ₽
51673268 -
22 ₽
5167353 - рукоять
5 314 ₽
51673770 -
59 870 ₽
5167387 - шайба упорная регулировочная
447 ₽
5167388 - шайба упорная регулировочная
451 ₽
5167390 - Штифт
3 528 ₽
51673963 - комплект
389 542 ₽
5167408 - Колпак
157 ₽
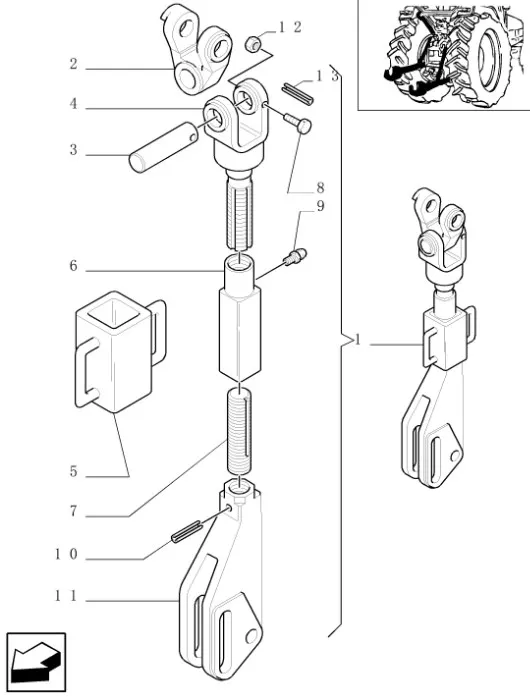
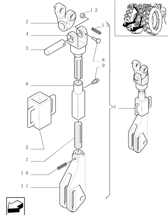
5167409 - вилка
24 764 ₽
5167412 - втулка
14 030 ₽
5167413 - шпилька
8 564 ₽
5167414 - стержень
21 954 ₽
5167416 - Регулировочная ручка
8 961 ₽
504144773 - демпфер
52 242 ₽
«
<
1
...
136
137
138
139
140
...
34117
>
»
Страница:
Перейти